12月23日消息据外媒报道,美国专利商标局(USPTO)日前公布了的一项专利显示,谷歌似乎也在搞可折叠手机。
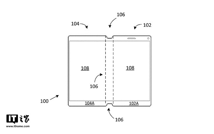
这项专利申请于7月25日。按照专利上的示意图,这个设备中间使用了铰链连接。专利使用了大量的文字,描述在两侧或其中一侧显示内容的方法,以及对此进行控制的软件。

值得一提的是,专利的部分插图上还出现了摩托罗拉的logo。谷歌于2011年收购了摩托罗拉,之后于2014年将其出售给了联想。另外,插图上显示的系统UI看起来也有些年头了。

按照描述,它能以帐篷的形态、在两面都显示内容的情况下工作,也能像其他折叠手机概念中的平板、手机模式一样工作。从这一点看,它有点像“小号”的联想YOGA笔记本。

此外,专利中还描述到,这一设备在拍摄的时候,可以使用任一侧屏幕显示内容。这意味着,设备不需要像当下的手机一样,有专用的前置、后置摄像头:因为无论手机屏幕如何朝向,用户都可以看到屏幕上的内容。